突发!大连万达集团所持80亿元股权被冻结
【导读】大连万达集团所持80亿元股权被冻结
中国基金报记者 忆山
天眼查显示,日前,王健林旗下大连万达集团股份有限公司(以下简称大连万达集团)又新增一条股权冻结信息,其持有的北京万达文化产业集团80亿元股权被全部冻结。
80亿元股权被全部冻结
天眼查显示,近日,北京万达文化产业集团新增1条股权冻结信息,被执行人为大连万达集团,冻结股权数额为80亿元,冻结期限为2025年3月18日至2028年3月17日,执行法院为河南省郑州市中级人民法院。

资料显示,北京万达文化产业集团成立于2012年9月,注册资本为80亿元,大连万达集团对其持股比例为100%,这意味着,此次法院将其持有的全部股权进行了冻结。
经营范围方面,北京万达文化产业集团主要从事组织文化艺术交流活动(不含演出),文化产业项目投资,投资管理、投资咨询等。
被执行总金额超60亿元
今年以来,大连万达集团新增多条股权冻结信息、被执行人信息。
股权冻结方面,除前述北京万达文化产业集团外,2月,大连万达集团持有的大连万达商业管理集团19.79亿元股权被北京市海淀区人民法院冻结,持有的万达文化产业有限公司1亿元股权被横琴粤澳深度合作区人民法院冻结。
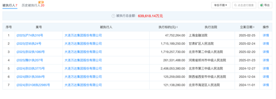
被执行人信息方面,2月25日,大连万达集团被上海金融法院执行超4775万元;2月24日,被甘肃矿区人民法院执行17.1亿元;2月20日,被北京市第二中级人民法院执行17.2亿元。
截至目前,大连万达集团被执行总金额超63亿元;同时,2024年以来,其被冻结股权金额合计超50亿元。

值得关注的是,为了缓解债务压力,万达开始向轻资产模式转型,近两年合计卖出近20个万达广场项目,其中,仅在2025年开年一个多月,就已出售了5座万达广场。
此外,大连万达集团还通过减持套现。根据万达电影发布的公告,大连万达集团旗下莘县融智于3月11日减持公司股份693.2万股;3月12日至3月18日,又合计减持公司股份1818.57万股;如按区间均价测算,套现金额合计超3亿元。
相关文章

最新留言